Щетка с передним бункером

Щетки, Щёточные диски

Работа любого современного уборочного коммунального электрооборудования осуществляется с помощью специальных механизированных щеток, основу которых составляют щеточные диски.

Диск щеточный — один из главных элементов наборной щетки, от середины которого расходится ворс. Помимо того, что он является рабочим органом, диск также служит в качестве расходного материала, который используется в основном в коммунальной технике для уборки городских территорий с ровной поверхностью.

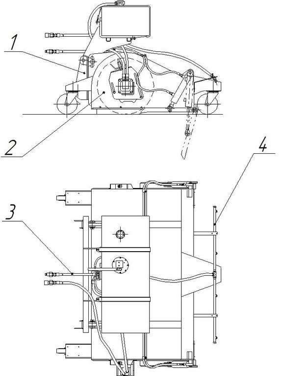
Щётка с передним бункером предназначена для очистки твёрдого дорожного покрытия от пыли, песка, и других сыпучих веществ, не вступающих в химические реакции с материалом щёточных дисков.

 

 

Возможна установка системы полива и лотковой щетки. 

 

Щетка с передним бункером является навесным оборудованием для универсальных минипогрузчиков.

Щетка с передним бункером является навесным оборудованием для фронтальных погрузчиков.

 

Технические характеристики

 

Модель

ЩПБ-156

ЩПБ-200

Ширина очистки щетки, мм ±30 мм

1560

2000

Ширина очистки с лотковой щеткой, мм ±30 мм

1870

2310

Объем бункера, м.куб

0,20

0,25

Диаметр щеточных дисков, мм

550

550

Количество устанавливаемых щеточных дисков

31

40

Скорость вращения щеточных дисков, об/мин

до 300

до 300

Рабочая скорость машины не более, км/час

8

8

Давление гидравлической жидкости, МПа 

16 - 18

16 - 18

Рабочая подача гидравлической жидкости,  л/мин

50 - 60

50 - 60

Напряжение питания, В

12

12

Емкость бака для воды, л.

150

150

Габаритные размеры, мм ±30 мм

Длина базовое исполнение / с лотковой щеткой

1620/2140

1620/2140

Ширина базовое исполнение / с лотковой щеткой

1905/2095

2340/2530

Высота базовое исполнение / высота с баком

645/1085

645/1085

Масса база/масса с баком и лотковой щеткой, кг ±30 кг

350/450

380/480

 

Производитель оставляет за собой право вносить технологические изменения в характеристики изделия без изменения его функционала и качества.
Уточняйте характеристики у наших менеджеров.

 

Уникальные особенности:

  • Щетка позволяет осуществлять разгрузку мусора с помощью опрокидывания бункера двумя гидроцилиндрами. Эта схема менее требовательна к высоте подъёма и углу выворота стрелы погрузчика.
  • На щётку с передним бункером, возможна установка дополнительной лотковой щётки, для сметания мусора от бордюра дороги в зону основной уборки. Также осуществляется очистка бордюра и его обмывание при установке системы полива.
  • При установке системы полива увеличивается удобство уборки дорог в городских условиях, благодаря пылеподавлению и увлажнению.
  • Простой и надёжный механизм регулировки пятна контакта щётки, позволяет быстро адаптироваться под характер загрязнений и компенсировать износ щетины.
  • Возможность разгрузки бункера в грузовой транспорт.
  • Установка трёх колёсных опор и использование «плавающего» механизма крепления адаптера, исключает необходимость водителя постоянно отслеживать дорожный просвет. При уборке щетка сама выдерживает правильный зазор между бункером и убираемой поверхностью.

    P-00-00000484

Поделитесь ссылкой на товар в соц. сетях или мессенджере: